Wyszukiwarka
Zaloguj się
Obramowanie VERANO L i F do grzejnika kanałowego 25/145
Opis
OBRAMOWANIE Z ALUMINIUM DO GRZEJNIKA KANAŁOWEGO VERANO 25/145
Obramowanie grzejnika kanałowego Verano jest elementem dekoracyjnym i maskującym przestrzeń pomiędzy podłogą a wanną grzejnika kanałowego. Obramowanie jak sama nazwa wskazuje jest obramowaniem wokół grzejnika. Obramowanie grzejnika nie jest elementem, który wchodzi w standardowe wyposażenie grzejnika. Obramowanie zarówno typ L i F można dobrać do grzejnika jako opcja dodatkowa.
Verano posiada w swojej ofercie dwa rodzaje obramowania: L i F. Poniżej opis oraz różnice miedzy poszczególnymi obramowaniami. Innym kryterium wyboru obramowania jest materiał z którego wykonane jest obramowanie. Obramowanie dostępne jest także w wielu kolorach ale tylko przy wybraniu opcji z aluminium anodowanego. Kolory obramowań w anodzie są dostępne w takich samych kolorach co kratki z aluminium anodowanego.
Obramowanie grzejnika kanałowego VERANO nie jest elementem obowiązkowym - zakup obramowania należy najlepiej przemyśleć podczas zakupu grzejnika gdyż późniejszy montaż obramowania w zamontowanym grzejniku w podłodze z kratką może być utrudniony lub nawet niemożliwy.
Poniżej zostaną opisane rodzaje obramowań wraz ze specyfikacją oraz dostępnymi opcjami wyboru. Poniższy opis z pewnością pozwoli na odpowiedni wybór obramowania.
RODZAJE OBRAMOWAŃ VERANO
- OBRAMOWANIE TYP L

Obramowanie typ L jest cienką ramką wokół grzejnika która nie nachodzi na podłogę ale jest równo ułożona na styku z podłogą. Obramowanie L zalecane jest w przypadku podłogi stałej, tzn. na stale przytwierdzonej do podłoża. Podłoga stała to np. podłoga wykonana z kafli lub kamienia.
- OBRAMOWANIE TYP F

Obramowanie typ F posiada grubszą ramkę, która nachodzi delikatnie na podłogę.Obramowanie tego typu zalecane jest w przypadku tzw. podłogi pływającej. Podłoga pływająca to podłoga, która nie jest jak sama nazwa wskazuje na stale połączona z podłożem lecz jest tylko na niej swobodnie ułożona. Podłogą pływającą jest np. podłoga z paneli lub drewnianych desek. Podłoga pływająca musi mieć między ścianą jak i wanną grzejnika delikatną szczelinę delatacyjną, która ochroni podłogę przed ewentualnym uszkodzeniem. Obramowaniem typu F można także zasłonić ewentualne źle i nieprecyzyjne obrobienie podłogi wokół grzejnika.
Cena obramowania F jest droższa od obramowania typu L
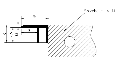
Rysunki techniczne wraz z wymiarami obramowań typu L i F dostępne na zdjęciach w grafice
MATERIAŁ OBRAMOWANIA TYPU L I F
Podobnie jak kratki Verano obramowanie dostępne jest z dwóch rodzajów aluminium: aluminium naturalne oraz aluminium anodowane.
- OBRAMOWANIE Z ALUMINIUM NATURALNEGO
Obramowanie z aluminium naturalnego to nic innego jak zwykłe aluminium. Obramowania z aluminium naturalnego występuję tylko w jednym wariancie kolorystycznym - jest to kolor srebrny.
W przypadku wyboru obramowania z aluminium naturalnego proszę przy wyborze koloru obramowania zaznaczyć kolor: ALUMINIUM NATURALNE.
- OBRAMOWANIE Z ALUMINIUM ANODOWANEGO
Obramowanie z aluminium anodowanego podobnie jak powyższe obramowanoe wykonane jest z aluminium nauralnego, ktora pokryta jest powłoka anody. Powłoka anody zwiększa żywotność aluminium i chroni je np. przed uszkodzeniami oraz promieniami UV. Dodatkowym atutem aluminium anodowanego jest to, ze anoda dostępna jest wielu kolorach.
Tutaj podobnie jak kratka opisana do góry wykonana jest z aluminium naturalnego jednak różni się od niej powłoką anody, którą jest pokrywana. Powłoka anody, którą pokrywane jest aluminium poprawia odporność na różne czynniki zewnętrzne między innymi na promieniowanie UV. Dodatkowo powłoka anody skutecznie opóźnia proces starzenia się aluminium co korzystnie wpływa na walory estetyczne. Powierzchnia pokryta anodą delikatnie połyskuje, wyróżnia się trwałą barwą, jest przyjemna w dotyku, i jednocześnie nie zatrzymuje brudu. Podstawową zaletą pokrycia aluminium anodą jest przede wszystkim mnogość kolorów w jakich możemy zamówić obramowania.
Poniżej zdjęcie z dostępnymi kolorami anody

Cena obramowania z aluminium jest droższa od obramowania wykonanego z aluminium naturalnego.
Obramowanie w niektórych przypadkach nie jest zamontowane na wannie grzejnika kanałowego lecz jest jest dostarczane w formie elementów do samodzielnego montażu.Montażu należy dokonać za pomocą silikonowego kleju.
Producent nie ponosi odpowiedzialności za problemy związane z montażem obramowania w przypadku odkształceń wanny grzejnika wskutek niewłaściwego montażu. Podobnie w przypadku zamówienia obramowania do zamontowanego już grzejnika z kratką Verano - producent nie gwarantuje, że obramowanie będzie możliwe do zamontowania na rant istniejącej wanny grzejnika.
Dane techniczne
| Szerokość obramowania | 25 cm |
| Długość obramowania | 145 cm |
Bezpieczeństwo
Koszty dostawy
Cena nie zawiera ewentualnych kosztów płatności
DANE KONTAKTOWE
| mail: biuro@grzejnikinowoczesne.pl | tel: 601718630 |